根据我院业务发展的需要,随着我院规模不断扩大,床位数增加,本着“公平、公正、择优”原则,拟面向社会招聘工作人员共21名,现将有关事项公告如下:
一、招聘原则
(一)坚持面向社会、公开招聘。
(二)坚持考试考察、择优聘用。
二、招聘岗位及条件
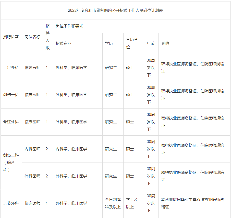
合肥市骨科医院公开招聘21名工作人员,具体招聘岗位及条件见《2022年度合肥市骨科医院公开招聘工作人员岗位计划表》(附件1)。
(一)招聘对象为本科及以上学历学位专业技术人员,且必须符合以下条件:
1、具有中华人民共和国国籍;
2、遵守宪法和法律,拥护中国共产党的领导;
3、勤奋敬业,乐于奉献、具有良好的品行和职业道德;
4、岗位所需的专业或技能条件;
5、适应岗位要求的身体条件;
6、岗位所需的其他条件。
(二)年龄要求中“30周岁以下”为“1992年6月1日以后出生”(其他涉及年龄计算的依此类推)
(三)岗位条件和要求中“专业”主要依据国家教育部2012年公布的《普通高等学校本科专业目录》等专业(学科)指导目录设置。
(四)香港、澳门大学学历,须经国家教育行政主管部门认可;国外学历,要经国家教育部相关部门学历认证;上述人员同时须符合公告规定及岗位要求的报考资格条件。
(五)有下列情形之一的人员,不得报考:
1、不符合招聘岗位条件要求的人员;
2、在读的全日制普通高校非应届毕业生;
3、现役军人;
4、经相关认定具有考试违纪行为且在停考期内的人员;
5、曾因犯罪受过刑事处罚的人员和曾被开除公职的人员、受到党纪政纪处分期限未满或者正在接受纪律审查的人员、处于刑事处罚期间或者正在接受司法调查尚未做出结论的人员;
6、按照国家、省有关规定,尚在最低服务年限内的机关、事业单位正式在编工作人员;
7、法律规定不得参加报考或聘用为事业单位工作人员的其他情形人员。
报考者不得报考聘用后即构成《事业单位人事管理回避规定》第六条所列情形的岗位。
三、招聘程序
招聘方式实行笔试和面试相结合的办法进行,招聘程序为:报名、资格初审、闭卷笔试、资格复审、面试、成绩合成、体检考察、确定拟聘人员、公示、聘用。
(一)报名
1、网络报名
报考人员根据报考岗位要求,将个人身份证、学历证、学位证、等相关证书扫描件和报名表发至招聘邮箱(QQ邮箱:845149624@qq.com),统一报名时间为2022年5月19日至2022年5月27日,逾期不再报名。报考人员所填信息必须真实无误。凡因弄虚作假或虽通过资格审查但实际与报考条件规定不符的,一经查实,即取消考试、录聘资格。
2、资格初审,报名结束24小时内,报考人员在合肥市骨科医院网站查看是否通过资格初审。
3、招聘岗位报名缴费人数与招聘计划数的比例达到2:1方可开考(急需岗位的除外)。未达到以上开考比例的,相应核减该岗位招聘计划数或取消该招聘岗位。报考被取消岗位的人员如符合其他岗位条件可以改报其他岗位,时间为2022年5月30日上午8点至下午5点,逾期视为自动放弃报考。因比例不足而被取消岗位的报考人员没有改报其他岗位的,可在报名结束后退回所收考试费用。
4.报名费:笔试费用45元/科,面试费用80元/人。
(二)笔试
1、通过资格初审并按时缴费的本科学历人员全部参加笔试。笔试采取闭卷形式进行,考试内容为卫生基础知识和相关专业知识,满分100分,保留小数点后两位,笔试成绩从高分到低分按应聘人数与岗位招聘人数的比例确定进入面试。如考生成绩相同,则一并进入面试,岗位招聘计划数与实际参加笔试人数不足规定比例的,按实际参加笔试考生人数确定进入面试。
2、笔试时间和地点以笔试准考证公布为准。
3、具有研究生学历的考生不参与笔试,直接进入面试环节。
(三)资格复审
面试入围人员在面试前应进行资格复审,资格复审时,报考人员应提供以下证件、材料:
1.本人有效居民身份证、学历(学位)证书、招聘岗位要求的相关证书(证件)及其他材料和报名资格审查表等材料原件和复印件;
2.持香港、澳门大学学历证书的人员,还须提供国家教育行政主管部门认可的证明;
3.持国外学历证书的人员,还须提供国家教育部相关部门学历认证证书。
凡出现以下任一情况的,即为资格复审不合格,取消面试资格:
1.与报考条件不符的。
2.不能提供规定证件材料的。
3.不能在规定时间接受资格复审的。
资格复审不合格或放弃的,所空名额按笔试成绩从高分到低分依次等额递补,等额有效递补一次。若出现笔试成绩并列,同分人员均进入面试环节。
资格复审合格的报考人员,缴纳面试费用并领取面试通知书。
资格复审的时间、地点以网站公告或电话通知为准。
(四)面试
1、面试工作由合肥市骨科医院组织,按规定在合肥市骨科医院网站公布参加面试的人员名单及其笔试成绩、名次,同时应载明:招聘岗位及数量、程序与规则、考试的内容、方式和时间、地点以及招聘单位联系人、联系电话、监督电话等事项。
2、面试成绩当场公布,保留到小数点后两位,小数点后第三位四舍五入,设定最低分数线60分,未达到最低分数线的考生,不予进入体检和考察;实际参加面试人员少于或等于岗位招聘计划数的,考生面试成绩须达到当天本考场实际参加面试考生的面试成绩平均分。
(五)成绩合成
报考人员考试最终成绩依笔试成绩与面试成绩6:4合成确定,在合肥市骨科医院网站公布。上述成绩均按百分制计算,计算时保留到小数点后两位,小数点第三位四舍五入。根据招聘计划数和报考人员考试最终成绩,从高分到低分,按1:1的比例等额确定进入体检、考察的人员,若出现总成绩并列的,按笔试成绩高低决定取舍,若再次出现并列的,以面试成绩高低决定取舍。
(六)体检和考察
1、按照考试成绩确定体检人员名单。
2、在体检环节因孕待检人员,因在产后国家规定的产假结束之日前向医院人力资源管理科提出补检书面申请,逾期未申请视为自动放弃,不再补录。
3、体检过程中,院纪检监察人员全程参与监督。体检工作结束后,考生对非当日、当场复检的体检项目结果有疑问的,可以在接到体检结论通知之日起7日内,向市骨科医院提交复检申请,复检只能进行1次,体检结果以复检结论为准。体检费用由考生自理。
4、考察工作根据拟聘用岗位的要求,采取多种形式,全面了解考察对象的政治思想、道德品质、遵纪守法、工作业绩(学业成绩)等,填写考察人员登记表。
5、对体检、考察出现缺额的,在同岗位考生中按考生综合成绩从高分到低分依次等额递补(若出现总成绩并列的,按笔试成绩高低决定取舍,若再次出现并列的,以面试成绩高低决定取舍)。等额有效递补累计一次,统一递补公告发布之后,不再递补。
(七)公示
1、根据考核、考察和体检结果确定拟录取人员名单,经集体研究确定后在医院网站公示7天。
2、公示期间及期满后拟聘用人员主动放弃岗位或被反映有问题并查有实据影响录用的,取消聘用资格,所空名额不在递补。
(八)聘用及待遇
经公示无异议后,根据合肥市骨科医院的相关政策,签订就业协议。为所聘人员购买五险一金(企业养老保险),签订劳动合同,入职后,可以通过合肥市骨科医院使用周转池名额公开考试入编。
咨询电话:0551-82318984 监督电话:0551-82310592
查询网站:合肥市骨科医院网站(http://www.hfsgkyy.com/)
本招聘公告由合肥市骨科医院负责解释。
附件1:《2021年度合肥市骨科医院公开招聘工作人员岗位计划表》
附件2:《合肥市骨科医院招聘人才报名资格审查表》
http://www.hfsgkyy.com/uploadfile/2022/0428/20220428035447699.doc
合肥市骨科医院
2022年5月19日


